Ihr Warenkorb ist leer
inkl. MwSt. zzgl. Versandkosten
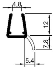
senkrechte Glas-Glas-Dichtung oder Glas-Wand-Dichtung sorgen für Dichtheit zwischen zwei Glasscheiben oder zwischen Glascheibe und Wand